ООО “Абтрон” Контакты:
Адрес: Октябрьская набережная, д. 104, корпус 5, строение 1 193079 Санкт-Петербург,
Телефон:+7 (812) 640-43-04, Телефон:+7 (812) 407-73-74
OOO "Абтрон" Контакты:
Адрес: ул. Хлебозаводская, д. 2а 654000 Новокузнецк,
Телефон:+7 (921) 778-35-29
Корзина
меню
/ / / Поворотный крюк Crosby SHUR-LOC S-1326

Поворотный крюк Crosby SHUR-LOC S-1326

Поворотный крюк Crosby SHUR-LOC S-1326
  • Бесплатная доставка по Санкт-Петербургу и Новокузнецку
  • Принимаем оптовые и розничные заказы
  • Удобные условия оплаты
Цена:
  • Соответствие стандартам ГОСТ

    Оборудование соответствует общему стандарту.

  • Подберём решение под задачу

    Изготовим оборудование под заказ и подберём комплексное решение

  • Доставка по всей России

    Доставляем заказы по всей России за минимальные сроки.

RUB
  • Материал: кованый, закаленный, из легированной стали.
  • Рассчитана на 20 000 циклов при нагрузке, в 1,5 раза превышающей предельную рабочую нагрузку.
  • Модель S-1326 предназначена для фиксации груза в заданном положении без возможности вращения под нагрузкой.
  • Модель S-13326 оснащена подшипниковым механизмом, обеспечивающим свободное вращение под нагрузкой.
  • Обе модели сертифицированы для работы со стальными канатами и цепями классов 80/100.
  • Защелка с надежной фиксацией автоматически блокируется при нагрузке на крюк.
  • Доступен ремонтный комплект S-4316 (пружина, штифт, спусковой крючок).
  • Крюк SHUR-LOC, при правильной установке и блокировке, может использоваться для подъема персонала и соответствует требованиям стандартов OSHA Правило 1926.1431(g)(1)(i)(A) и 1926.1501(g)(4)(iv)(B). 

 

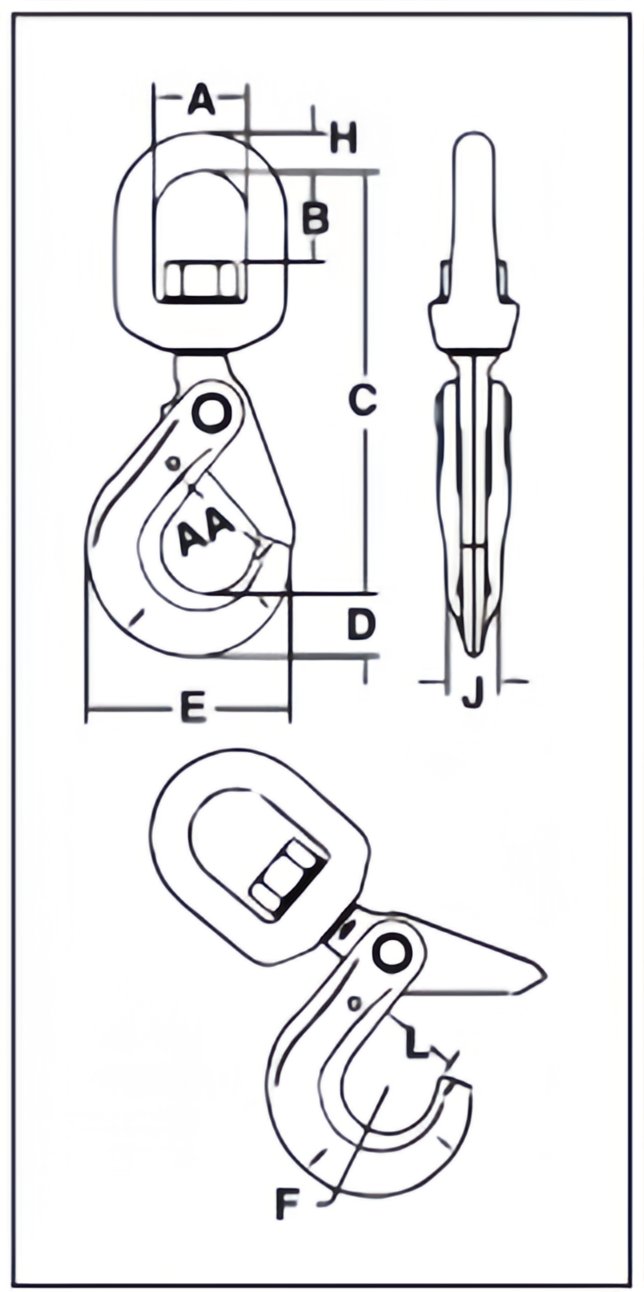
Размер цепи Код рамы

Цепь из сплава 100. Рабочая нагрузка (дюйм). Коэффициент запаса прочности 4:1

Рабочая нагрузка (дюйм)

Коэффициент запаса прочности 5:1

Размеры  Вес каждого Артикул
a b с d e f h j l aa*
дюйм мм дюйм дюйм дюйм дюйм дюйм дюйм дюйм дюйм дюйм  дюйм кг
- 6 D  3200 2560 1.50 1.32 6.13 .79 2.60 .67 .50  .63 1.13 1.50 1.26 AB1004304
1/4 - 5/16 7-8

G

5700 4560 1.75 1.59 7.60 1.10 3.50 .87 .63 .81 1.38 2.00 2.62 AB1004313
3/8 10 H 8800 7060 2.00 1.73 8.83 1.17 4.39 1.10 .75 .94 1.75 2.50 4.70 AB1004322
1/2 13 I 15000 12000 2.50 2.38 11.20 1.67 5.45 1.26 1.00 1.16 2.11 3.00 8.64 AB1004331
5/8 16 - 22600 18000 2.75 2.70 12.90 2.05 6.56 1.50 1.13 1.50 2.49 3.50 17.00 AB1004340
3/4 18-20 - 35300 28240 2.83 2.52 14.10 2.22 7.76 2.01 1.10 2.03 3.52 5.00 24.00 AB1004349
7/8 22 - 42700 34160 3.44 3.19 16.40 2.45 8.75 2.26 1.30 2.20 3.83 6.00 29.00 AB1004358

 

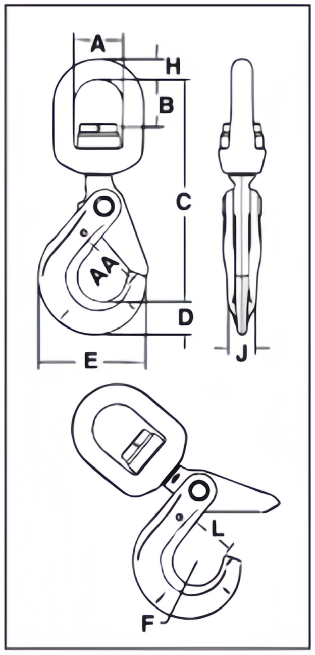
Размер цепи Код рамы

Цепь из сплава 100. Рабочая нагрузка (дюйм). Коэффициент запаса прочности 4:1

Рабочая нагрузка (дюйм)

Коэффициент запаса прочности 5:1

Размеры  Вес каждого Артикул
a b с d e f h j l aa*
дюйм мм дюйм дюйм дюйм дюйм дюйм дюйм дюйм дюйм дюйм  дюйм кг
- 6 D  3200 2560 1.50 1.14 6.17 .79 2.60 .67 .50  .63 1.13 1.50 1.50 AB1004404
1/4 - 5/16 7-8

G

5700 4560 1.75 1.52 7.54 1.10 3.50 .87 .63 .81 1.44 2.00 3.10 AB1004413
3/8 10 H 8800 7060 2.00 1.61 8.88 1.16 4.35 1.10 .75 .94 1.83 2.50 5.26 AB1004422
1/2 13 I 15000 12000 2.50 2.03 11.11 1.66 5.45 1.26 1.00 1.16 2.19 3.00 11.22 AB1004431
5/8 16 - 22600 18000 2.75 2.25 12.90 2.05 6.56 1.50 1.13 1.50 2.61 3.50 17.32 AB1004440

 

 

Условия доставки

Главный офис компании АБТРОН находится в Санкт-Петербурге. Кроме того вы можете обратиться в филиал компании в Новокузнецке, где также можно приобрести оборудование, представленное на сайте. Доставка по Санкт-Петербургу и Новокузнецку выполняется бесплатно.

Если нужно привезти заказ в другой регион России или страны СНГ ― выбирайте транспортную компанию по своему усмотрению, главное, чтобы терминал находился в городах присутствия нашей компании. Не знаете, в какую ТК обратиться? Менеджеры помогут выбрать удобный вариант. Для крупных грузов поможем зафрахтовать специальный транспорт или контейнер.

Транспортировка заказа до терминала транспортной компании в Санкт-Петербурге и Новокузнецке выполняется бесплатно после согласования всех деталей с клиентом.

Оставить заявку
Array ( [p_f_5_id] => 666,665,670 [cat_id] => 60 [0] => 1778151463 )